apageo logo home

Perforación para pruebas presiométricas mediante un sistema de tubo dividido autoperforante (STAF)

Gérard ARSONNET, Geomatech, Champlan - Francia
Jean-Pierre BAUD, Eurogeo, Avrainville - Francia
Michel GAMBIN, Apageo, Magny les Hameaux - Francia

Resumen

A partir de las investigaciones y desarrollos de Louis Ménard, varios de sus colegas, en asociación con geotécnicos más jóvenes, han buscado la manera de crear la cavidad en la que debe introducirse la sonda presiométrica mediante las técnicas de perforación más recientes, siendo el procedimiento globalmente económico. La cavidad propuesta está prácticamente libre de retrabajo y el suelo circundante libre de relajación. Se proporcionan ejemplos comparativos en una amplia gama de suelos.

Introducción

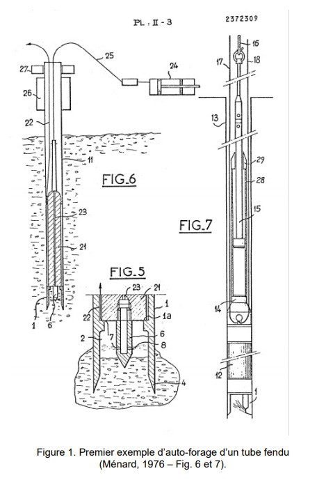
Desde el inicio de la utilización del presiómetro, Louis Ménard y sus primeros colaboradores se enfrentaron a las críticas de los expertos en geotecnia, que se mostraban escépticos sobre la representatividad de los ensayos en los distintos tipos de suelos. Por lo tanto, los primeros usuarios tuvieron que definir las condiciones de perforación y ensayo que dieran los resultados más fiables. El papel de una buena retención de la pared del pozo y la disponibilidad de una cavidad cilíndrica bien calibrada para el diámetro de la sonda pronto se convirtieron en algo esencial (PLM, 1962). El uso de la barrena manual, a poca profundidad, en condiciones de sequedad en suelos predominantemente arcillosos por encima del nivel freático, o con circulación de bentonita, se convirtió así en la prueba de calidad arquetípica. La sonda podía introducirse poco después de la perforación en un pozo bien cortado y de paredes lisas, en el que el contacto con el suelo se obtenía en los primeros pasos sin ningún rastro de repaso (LCPC 1971). Las máquinas de perforación geotécnica de la década de 1960 eran principalmente de accionamiento mecánico y estaban construidas para la perforación de núcleos. Louis Ménard y sus colaboradores fabricaron inicialmente sondas presiométricas con diámetros adaptados a taladros de 3'', 3½'', 4'', 4½'' e incluso mayores. Los tiempos de manipulación e instalación de la sonda eran demasiado largos y favorecían la descompresión del suelo excavado con herramientas tipo sacatestigos. Por lo tanto, no pasó mucho tiempo antes de que se utilizaran sondas con diámetros más pequeños, de 32 mm (1¼''), 44 mm (1¾''), 63 mm (2½''), para la perforación manual o golpeando un taladro de núcleo. Desde el principio, Louis Menard (1959) patentó el tubo partido para la conducción directa de la sonda en suelos granulares por debajo del nivel freático, donde las paredes de la cavidad son difíciles de mantener sin que se produzcan desprendimientos. También se diseñaron y produjeron máquinas vibratorias hidráulicas para utilizar este tubo partido, principalmente en el medio marino (Ménard y Gambin, 1965). Un segundo problema era, y sigue siendo, crucial, el del tiempo de inactividad asociado a la realización de las pruebas de una "pasada autorizada" según la norma: el tiempo empleado en levantar la herramienta de perforación después de cada pasada, luego el tiempo empleado en bajar la sonda para realizar la prueba y, finalmente, el tiempo empleado en levantar la sonda y bajar la herramienta de perforación. Con el fin de resolver estos problemas de tiempos muertos se iniciaron nuevas investigaciones que condujeron a la presentación de una patente que contenía el germen del proceso que vamos a presentar (Ménard 1976). Se trata de un concepto de autoperforación de un tubo, en este caso por "chorro de fondo", posiblemente asociado a un hincado de cable mediante un espolón delgado, que se desliza en la parte inferior del tubo, y el de una sonda medidora de presión colocada permanentemente en línea con la parte dividida a lo largo de varias generatrices del tubo (figura 1).

Figura 1

El método descrito en la patente permitió suprimir la noción de pasada de perforación permitida, ya que las paredes del pozo se mantienen siempre mientras se realizan las pruebas al subir la tubería, y eliminar el tiempo de manipulación de la herramienta de perforación. Sin embargo, esta técnica sólo es aplicable a los suelos blandos, a no ser que se disponga de un equipo de corte por chorro de agua a muy alta presión que todavía no es muy práctico en las pequeñas obras de estudio geotécnico.

El tubo dividido o "linternizado"

Existen muchos métodos de perforación para crear una cavidad compatible con una prueba presiométrica fiable, pero generalmente están asociados a un tipo de suelo bien definido (AFNOR, 2000). Entre ellas, volvamos a las que implican un tubo "dividido". El tubo dividido -o "linternizado", que es más explícito-, cuya diversidad de diámetros se ha enrarecido, favoreciendo el de 63 mm (aprox. 2½''), se utiliza actualmente de 3 maneras cuyo principio es radicalmente diferente: - Como un "tubo de división directa": el tubo dividido, cerrado en su extremo por una espiga (preferentemente en el extremo de un cupón de tubo) o un sacatestigos se impulsa directamente, por apisonamiento, vibroperforación o gato, con una sonda presiométrica de 44 mm de diámetro fijada en su interior; Es el equivalente de la herramienta de "perforación" utilizada antes de la prueba, más exactamente la herramienta de creación de la cavidad de prueba, la densificación temporal del suelo en las proximidades del punto se reequilibra por las vibraciones posteriores en las arenas incrustadas al nivel de las ranuras del tubo (TLM, 1966); la longitud de las pasadas no tiene límite, la de la perforación está limitada por el rechazo del apisonamiento. - Como un tubo de linterna china en un agujero previamente perforado: utilizado como protección de una sonda AX (44 mm) en lugar de una sonda BX (60 mm), el conjunto constituye una sonda utilizada en una perforación con paredes mal mantenidas o parcialmente mantenidas por una columna de lodo de perforación; la resistencia del tubo a la agresividad del suelo de las paredes, generalmente heterogéneo, permite realizar una perforación calibrada más "ajustada" que en el caso de una sonda de vaina flexible, pudiendo bajar la reducción de diámetro hasta un valor inferior al de la sonda, lo que da lugar a la técnica conocida como agujero piloto, intermedia entre una verdadera perforación preliminar y el uso de un tubo dividido directo; la longitud de las pasadas se limita según la norma en función del tipo de suelo ensayado. - Al tratarse de un tubo dividido "abierto" que funciona como sacatestigos, el material cortado se retira bien después de cada fase de batido de duración limitada mediante el descenso de una herramienta ad hoc, o bien simultáneamente mediante boquillas de chorro permanente en la base, estando el ascenso de los sedimentos asegurado por el flujo inyectado, o bien mediante una herramienta rotativa destructiva interna con circulación de lodo; la longitud de las pasadas no tiene límite, salvo el de la penetración máxima bajo el efecto de la fricción en el tubo. Esta última técnica, aunque muy atractiva desde el punto de vista conceptual, se ha practicado cada vez menos, debido a la creciente disponibilidad de máquinas de perforación multifuncionales, hasta el punto de que casi ha desaparecido, aunque el límite de longitud de paso impuesto por la relajación del terreno ha pasado a ser irrelevante. Desapareció de la tabla de métodos entre el procedimiento presiométrico (LCPC, 1971) y la primera publicación de la norma francesa (AFNOR, 1991), y se denomina en la versión actual (AFNOR, 2000) "tubo dividido con extracción simultánea de materiales" por las siglas TFEM. Esta técnica también está descrita y permitida en la norma americana (ASTM, 1987) en el § 7.4.2.9 bajo el título "Pilot Hole Drilling and Simultaneous Shaving": "perforar con una herramienta piloto de menor diámetro que la sonda y dar forma a la cavidad con un fino cilindro hueco situado justo encima de la herramienta y unido a la barra de perforación". La herramienta piloto y el tubo son empujados con un flujo de lodo espeso. ¿Podríamos ir más allá de estas descripciones y, aumentando la penetración del tubo sin límite, reducir el tiempo necesario para subir y bajar la herramienta de perforación entre los períodos de prueba?

Autoperforación del tubo dividido o STAF

A partir de estos datos, los autores de este trabajo se han esforzado por desarrollar un método de perforación único, sea cual sea el tipo de suelo, que permite realizar pruebas presiométricas fiables, reduciendo al mínimo el repaso de las paredes del pozo y siendo prácticamente el mismo sea cual sea el suelo. De este modo, intentamos optimizar los dos parámetros que influyen en la forma del inicio de la curva del presiómetro: - la "reelaboración" de las propias paredes de la perforación, mediante la búsqueda de una técnica de corte del terreno rápida, única y precisa en su calibración, perfectamente cilíndrica y que garantice una evacuación rápida y completa de los sedimentos; - la descompresión del terreno circundante, fenómeno que se inicia en cuanto se realiza este corte y sea cual sea su calidad, asegurando el apoyo de la pared de la perforación mediante un tubo del calibre exacto de la sonda en unas fracciones de segundo tras el corte del terreno.

El material

El equipo necesario se elige para que pueda ser utilizado por cualquier tipo de máquina de perforación hidráulica que permita la rotopercusión unida a la circulación de un fluido de perforación. Incluye, en la versión utilizada para los resultados presentados en el capítulo 4, los siguientes elementos 

  • un accesorio para conectar la salida del accesorio del cabezal de rotopercusión con las varillas de tipo cordón R32mm, se amplía para presionar sobre un cabezal batidor;
  • una arandela metálica "mártir" (consumible) en el casco de trilla;
  • el casco de conducción de 63 mm de diámetro interior, equipado con un conducto de descarga de fluido de perforación;
  • un juego de alargadores de 122 mm de longitud y 32 mm de diámetro, y manguitos de rotopercusión, una pieza clásica que, sin embargo, debe ser robusta contra la rotopercusión;
  • un conjunto de tubos con un diámetro exterior de 63 mm y un diámetro interior de 49 mm, en elementos de 122 mm de longitud, atornillados sin saliente con un paso diseñado para comportarse bien bajo la vibración de los martillos de rotopercusión;
  • un tubo dividido con un diámetro exterior de 63 mm y un diámetro interior de 49 mm colocado al pie del conjunto tubo-tallo, equipado en su base con una zapata abierta y una reserva para colocar la sonda;
  • una herramienta de rotopercusión destructiva guiada por la zapata de la carcasa, "extensible" al diámetro de perforación y retráctil en la carcasa; se trata de una evolución de las herramientas retráctiles de tipo Odex® conocidas en diámetros mayores, cuyo diámetro está calibrado para perforar un agujero ajustado al de la carcasa utilizada; - un sistema de agarre de la carcasa por encima de los gatos, consistente en un collarín de autoapriete o en un yunque anular hidráulico;
  • un sistema de elevación de la carcasa mediante gatos hidráulicos;
  • una sonda presiométrica de tipo AX con un diámetro exterior de 46 mm, dotada de una punta especial con aletas móviles que permite colocarla con precisión en el centro de la sección ranurada del tubo y retirarla al final de las pruebas;
  • Por último, el presiómetro de presión-volumen, preferiblemente con registro electrónico de las lecturas.
Figura 2
Figura 3

Cómo funciona

La secuencia de funcionamiento de este conjunto se describe en el diagrama de la figura 2. La sarta de revestimiento desciende a la misma velocidad que la herramienta de perforación realizando una verdadera autoperforación del tubo dividido, que forma la envoltura protectora y expansible de la sonda que luego se colocará a su nivel. La autoperforación de la carcasa se caracteriza por el hecho de que la herramienta destructiva "expandible" se extiende más allá de la base de la carcasa y, además, ocupa la totalidad del tubo maestro. Aunque esto supone una desviación del principio de autoperforación estricta del tubo, este defecto se compensa en gran medida con la posibilidad de perforar de forma continua sin cambiar la herramienta en todo tipo de suelos, desde los finos y compresibles hasta los suelos escarpados y pedregosos, e incluso directamente en roca o alternando suelos y roca cementada. El resultado es un repaso normalizado que se reduce al mínimo representado por la posible descompresión del terreno durante el segundo o fracción de segundo que transcurre entre el corte por la herramienta que sobresale y la llegada del revestimiento. En este sistema se presta especial atención a la evacuación de los recortes, que son empujados hacia el interior de la tubería de revestimiento por la forma de la propia herramienta y por la dirección dada a las boquillas de inyección, que sólo atacan frontalmente el terreno y favorecen el ascenso del fluido cargado hacia la zapata de la tubería de revestimiento, donde son triturados hasta alcanzar una granulometría lo suficientemente fina como para facilitar este ascenso. El fluido de circulación, que puede ser a base de bentonita, un clásico pero cada vez menos utilizado en la práctica por los talleres de perforación que disponen de muy poco tiempo en una obra para preparar un lodo de bentonita suficientemente hinchado, puede ser también un lodo polimérico que puede prepararse casi instantáneamente. La ventaja de esto es que el lodo polimérico no tiene que revestir las paredes del pozo, con las que prácticamente no tiene contacto, salvo entre la herramienta de perforación y la zapata de la tubería de revestimiento, sino principalmente tener la viscosidad necesaria para recubrir los sedimentos y hacerlos subir completamente. Todo el lodo puede ser recogido en la canaleta a la salida del casco de conducción, lo que permite al supervisor de la perforación visualizar su salida continua y regular, y tenerlo inmediatamente sedimentado con la posibilidad de tomar en cada pasada una parte de los recortes que pueden ser puestos en bolsas para un corte de recortes de manera muy limpia. El lugar de perforación alrededor del agujero también se mantiene muy limpio, y la decantación en un tanque apropiado (o doble decantación) permite la descarga de un líquido de perforación libre de sedimentos. Al final del proceso de perforación, el volumen de precipitado de sedimento triturado en el fondo del tubo está relativamente concentrado y puede utilizarse, con la posible adición de un pequeño porcentaje de cemento, para hacer una lechada que se reinyectará para tapar la perforación, lo que garantiza tanto una obra de perforación sin residuos como un taponamiento hermético de la perforación.

Figura 4

Presentación de los resultados de algunas pruebas

Presentaremos los resultados de las pruebas realizadas con el tubo dividido abierto y el tubo autodividido STAF®. Analizaremos las cualidades específicas del método y compararemos los resultados del presiómetro con otros métodos de perforación.

Enfoque

El primer desarrollo de la herramienta de perforación retráctil excéntrica de 63 mm se realizó de 2000 a 2003 y las primeras perforaciones con esta herramienta en 2003. Las primeras perforaciones se intentaron en diferentes suelos para comprobar las dificultades de bajar y subir la tubería en función del diámetro de la herramienta. Resultó que una herramienta unos milímetros mayor que el diámetro de la tubería permitía bajar la sarta de revestimiento con rapidez y facilidad, pero daba lugar a pruebas con un volumen de contacto demasiado alto y desordenado, ya que debido a este espacio anular, aunque fuera mínimo, el escombro tendía a subir y formar un tapón alrededor de la tubería partida. Las pruebas realizadas en Bruyères le Châtel, sondeo FP3 del proyecto Teratec, con una herramienta de botón balístico ilustran este problema: las pruebas son interpretables, pero la relación E/Pl parece estar sobreestimada en comparación con las pruebas vecinas en preperforación con lodo, que además pueden no representar el "verdadero" módulo de presión del suelo, que probablemente es intermedio. La obtención de pruebas que se ajusten a las expectativas del método se produjo con bastante rapidez si se observan las siguientes disposiciones:

  • uso de una herramienta de inserción de carburo de tungsteno de 65 mm de diámetro
  • una presión de inyección moderada que no supere los 2 MPa de media
  • también una velocidad de inyección moderada de 30 a 60 l/min
  • una frecuencia de percusión bastante baja: de hecho, la frecuencia de percusión, que varía según el tipo de impacto, que difiere según los modelos de martillo, es el elemento que el perforador puede modular en función del terreno: algunos golpes escasos (menos de 30 golpes/min) en terrenos compresibles y hasta presiones límite del orden de 1 MPa, donde el descenso del conjunto tubo-varilla es rápido; aumento de la frecuencia hasta 60 a 100 golpes/min en terrenos medios a escarpados, hasta PLM de 2 a 3 MPa; más allá, se entra en terrenos escarpados a muy escarpados, donde es necesario aumentar la frecuencia, que puede llegar a 300 a 500 golpes/min según el tipo de percutor, y el empuje sobre la herramienta para mantener una velocidad de penetración suficiente;
  • El control del caudal del fluido de perforación cargado de recortes es esencial para el perforador, cualquier tendencia a la disminución del caudal corresponde a un riesgo de "bloqueo" que debe compensarse inmediatamente con un aumento controlado del caudal de inyección, que pone de nuevo en movimiento el fluido;

La perforación en estas condiciones consigue bastante bien el resultado deseado de un agujero perfectamente cilíndrico y vertical: la herramienta de perforación bien guiada destruye completamente el suelo, y el borde rígido de la zapata de la carcasa aplasta la pared en caso de que queden fragmentos de tierra, estableciéndose con una cierta fricción correspondiente al ajuste del diámetro del agujero. La extracción es relativamente difícil a partir de cierta profundidad: generalmente supera la fuerza de tracción de las perforadoras geotécnicas estándar y requiere el uso de un sistema de elevación. Esto, junto con la ausencia de tubos ascendentes alrededor del revestimiento, garantiza que se ha alcanzado el objetivo de un ajuste perfecto del suelo alrededor del revestimiento, sin descompresión pero también sin riesgo de reflujo. Desde el punto de vista de la organización del trabajo, se utilizó o bien el conocido sistema de gatos sobre yunque anular tomado y adaptado de la máquina de perforación D9000 Ménard para la extracción del tubo partido "directo", o bien un gato anular operado por el taller de perforación. Pero es muy posible, y ésta es una de las ventajas del método, dividir el trabajo entre un taller de autoperforación del tubo partido, dejando su ristra de revestimientos en su lugar antes de seguir adelante, y un taller de medición de la presión que realice la extracción del revestimiento y el registro de las pruebas durante el ascenso, ya sea inmediatamente después o con un desfase de tiempo impuesto por las circunstancias del lugar (vías de circulación con interrupción limitada, por ejemplo)

Ejemplos en diferentes tipos de suelo

Las curvas de ensayo que aparecen a continuación muestran diferentes tipos de suelos y valores de módulos y presiones límite. Aparte de las pruebas de desarrollo de Avrainville y del sitio experimental LCPC de Merville, las pruebas se realizaron en obras reales, misiones G0 seguidas de misiones G1 y posteriores.

Figura 5
Figura 6
Figura 7
Figura 8
Figura 9
Figura 10

Comparación con las pruebas de preperforación sin revestimiento

La campaña de perforación de Villeneuve-le-Roi es especialmente interesante, ya que se trata de 3 perforaciones de 15 a 18 m para la construcción de un almacén (sobre pilotes) en un emplazamiento en el que se construyó un almacén anterior (empresa Paprec) y una prensa de estampación en las inmediaciones en campañas de medición de la presión con perforación previa. La comparación de los resultados (Figura 13) muestra que en el relleno reciente y en el aluvión de este yacimiento, hasta unos 11 m, la distribución de los valores EM y pLM de las pruebas, aunque difiere en los detalles, es estadísticamente poco diferente. Por el contrario, en el lecho de marga a marga-caliza, los ensayos STAF muestran, para una presión límite comparable, relaciones EM/pLM mejor agrupadas y más elevadas; en este caso, es seguro que estos valores de módulo se acercan más a la realidad del yacimiento, y que los valores anteriores en preperforación habían subestimado ligeramente los módulos.

Figura 11
Figura 12
Figura 13

Conclusiones y perspectivas

Las pruebas presentadas anteriormente corresponden, tras un periodo de desarrollo, a unos 15 emplazamientos a escala real a distintas profundidades, hasta 22 m en la actualidad; está previsto realizar perforaciones hasta 45 m. Los resultados son lo suficientemente alentadores como para estar seguros de que la influencia de la perforación en la fase inicial de la prueba se reduce considerablemente. Continúa el desarrollo de herramientas de perforación y martilleo vibratorio con el objetivo de permitir la realización de pruebas con un retrabajo inicial insignificante en todo tipo de suelos.

Contacto con nosotros